
风冷式冷水机技术解析:工业制冷领域的高效解决方案
风冷式冷水机技术解析:工业制冷领域的高效解决方案
一、主要应用领域
本实用新型专利涉及一种风冷式冷水机,其主要应用于中央空调系统和工业工艺过程中需要冷冻水的场合。具体包括冶金、石油化工、机械、医药等工业生产中需要冷却水的工艺场所,能精确控制现代工业生产所需温度,从而提高生产效率和产品质量。
二、解决的技术问题
传统冷水机组(尤其是螺杆式冷水机)存在以下问题:
噪音大,影响工作环境;
能耗高,增加运营成本;
对加工和装配精度要求极高,导致制造成本高、维护复杂;
使用成本高,加重企业负担。
本实用新型旨在解决上述问题,提供一种噪音低、能效高、结构合理且便于维护的风冷式冷水机。
三、关键技术方案
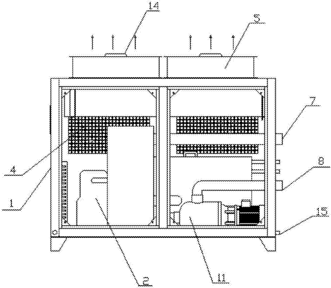
该风冷式冷水机包括箱体、压缩机、水箱、风机、冷凝器、电控箱、板式蒸发器和水泵等核心组件,其结构设计具有显著创新:
整体布局优化:
所有主要部件均集成于箱体内,结构紧凑;
电控箱位于箱体内部左侧下端,右侧依次设置板式蒸发器和水泵;
水箱位于水泵背面,设有补水口和溢水口。
通风与散热设计:
箱体前后两侧采用进风格栅结构,既保证通风效果,又防止异物进入;
箱体上部设有两个风机(第一风机和第二风机),朝上吹风,增强散热效率。

冷凝与蒸发系统:
冷凝器位于风机下方,与压缩机直接连接,提高热交换效率;
板式蒸发器与压缩机协同工作,实现高效冷热交换。
维护与排污设计:
箱体底部设有排污口,便于排出油污和积水,保持内部清洁;
水箱设有补水口和溢水口,便于水位管理与维护。

四、达到的有益效果
本实用新型通过上述技术方案实现了以下优势:
制冷效果好、效率高:双风机设计加速热气排出,板式蒸发器提升热交换效率;
节能环保:优化结构降低能耗,符合绿色制造要求;
维护便捷:排污口和格栅设计便于清理和维护,延长设备寿命;
运行稳定:电控系统集成化高,操作简单,可靠性强;
适用性广:可广泛应用于工业制冷和中央空调系统,具备较高的市场推广价值。

该风冷式冷水机不仅解决了传统设备的高噪音、高能耗问题,还在结构设计和功能集成方面展现了显著的技术进步,适用于对制冷要求较高的工业环境。
